苹果MacBook 新专利显示未来MacBook Pro触控板可能会更大且可调节有背光
   1671十三军剑情 2020/8/5 8:00:21  查看:5904  评论:1
  • 出租商标、商标授权_海量一手商标出租授权入驻专业平台
  • 脑子库VIP会员
  • 人工顾问一对一服务,申请商标注册,优惠价格:698
  • 阿里品牌库精品商标转让

本文来自cnBeta

苹果正在研究用一个可以根据需要动态收缩、增长或改变位置的虚拟触控板取代常规的MacBook Pro触控板。目前的MacBook Pro触控板已经和最初版本的触控板相差甚远,点击时物理上会移动。现在,苹果甚至希望用一个完全虚拟的触控板来取代那个玻璃表面和它的触觉触控,并且让它有背光。

苹果名为“带动态触控板的发光设备外壳”的新专利,最初是在2018年4月申请的,描述了如何更好地利用传统的触控板区域。苹果在专利当中表示,一些传统的输入设备包括大型按钮、按键或其他机械驱动的结构,然而,这些类型的输入设备可能缺乏灵活性或适应性,并且可能永久地指示计算系统输入设备的存在。“

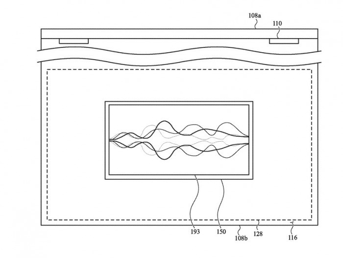
苹果提出了一个类似MacBook Pro的蛤壳,其中顶部是屏幕,但底部是 “动态输入表面”。这确实包括键盘本身,专利中还提到可能用 “虚拟键盘 ”来代替键盘。然而,该专利的大部分内容涉及到目前位于键盘前方的区域,即触控板所在的区域。苹果将其称为电脑外壳的下半部分。该]下部部分包括一个下部外壳,该外壳具有一个半透明层,该半透明层定义了一个活动输入区域,以及一个位于活动输入区域内的采光特征阵列,下部部分还包括沿下部外壳上表面定位的键盘,并配置为接收按键。在键盘下方还包括沿半透明层侧面定位的发光元件,该发光元件被配置为将光通过半透明层传播,以照亮活动输入区域。

该专利中描述的背光并不是为了使整个触控板部分像普通背光键盘那样被照亮而增加的。相反,照明是用来告诉用户该区域的哪些部分可以作为控制。动态输入区域可以沿着由半透明层或结构形成的外壳外部或上表面定义,半透明层可以被选择性地照亮,以揭示可定制的活动输入区域(例如,虚拟轨迹垫)和/或沿着动态输入区域显示各种视觉输出。因此,举例来说,如果用户在 Final Cut Pro X 中工作,动态触控板可能会被配置为与 MacBook Pro 同宽,以帮助在时间轴上移动。当用户切换到Pages并开始打字时,动态触控板可能会自动缩小,以避免无意中的触碰。


  扫一扫,关注公众号,邀你进商标行业群,做商标大买卖  
还在等啥快!快!快!

商标人之家
注明:本文由用户发表,如有问题请联系客服处理

收藏主题,收藏好内容,方便下次查阅
今日资讯推荐 最新用户内容
更多资讯内容


   wbpak61 2020/8/6 4:32:19 等级:1 1F
回帖奖励 +4分
学习 学习 学习 学习 学习 学习 学习 学习 学习